xAI成功完成200亿美元超募融资,估值跃升至约2300亿美元,并拿下美国国防部等重磅合作。然而,其...
新一代智能座舱通过多屏联动与曲面屏技术,实现了极致的视觉清晰度与交互自由度。从组件供应到解决方案定义...
尚界Z7作为鸿蒙智行新成员,定位高端轿跑,集成了华为智能座舱与智驾系统,展现了品牌在智能化与设计美学...
比亚迪、吉利与奇瑞的出口战略呈现明显分化:比亚迪以北美、欧洲为突破,吉利深耕独联体等新兴市场,奇瑞则...
中国公司正依托成熟产品与清晰的商业路径,加速人形机器人的全球化进程。通过“场景先行、案例复制”的策略...
东风汽车正与投资者磋商在土耳其开展乘用车生产,其经销商表示力争年内启动投产。此举顺应了土耳其汽车市场...
地平线通过增持佑驾创新股份,进一步强化了双方“技术共研、业务共生、股权共担”的深度绑定关系。这不仅巩...
通过集中展示辅助驾驶、具身智能及消费电子领域的最新成果,展现了以AI芯片技术为核心,驱动汽车、机器人...
该平台通过集成安全认证的底层软件,旨在化解车辆软件开发复杂性,显著减少整车厂的集成工作量,使其能将更...
意法半导体通过其全面的产品组合,包括Stellar G系列MCU、高性能音频功放、GNSS芯片及ME...
车企正通过落实双休、精准涨薪和发放丰厚年终奖等方式优化员工待遇,这不仅是福利提升,更是行业转型期激烈...
2025年电池新能源产业链投资总额大幅下滑,行业告别野蛮生长,进入理性调整期。投资重点转向储能、钠电...
五菱通过一场为农民工举办的交车仪式引发全网共鸣,其背后是品牌对下沉市场与普通劳动者需求的深刻洞察。从...
奔驰将A级车生产线从德国转移至匈牙利,旨在通过利用东欧更低的运营成本来提升入门级车型的盈利能力,同时...
理想汽车超充网络已覆盖全国31个省份,累计上线超3900座站点。其5C超充技术可实现充电12分钟续航...
中国一汽及其两家关联公司因执行标的近600万元被列为被执行人,具体案由尚未披露。此类司法案件可能对企...
数据显示,比亚迪在德国和英国两大欧洲电动汽车市场的销量已全面超越特斯拉。这得益于其积极的海外扩张策略...
激光雷达作为物理AI的核心传感器,通过双技术路线实现全场景感知覆盖,已在自动驾驶、泛机器人及智慧交通...
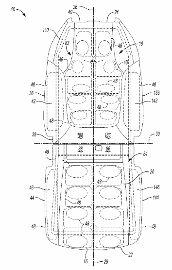
通用汽车一项新专利揭示了可主动调节尺寸与软硬度的汽车座椅系统,通过气囊与泡沫复合层实现个性化支撑,旨...
德州仪器通过发布TDA5高性能计算SoC系列与AWR2188雷达收发器等新品,为下一代ADAS和软件...