智能座舱系统融合了多模态交互与AI技术,实现了车载显示与物联网场景的深度结合,同时绿色节能产品的推出...
全域深度融合电子电气架构通过整合中央计算平台、区域控制器与高速光通信网络,实现了整车系统性的数据共享...
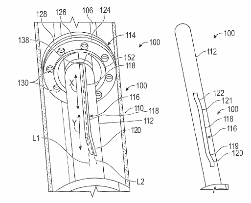
通用汽车提交的自适应减震器专利,通过独特的机械导杆与导向槽设计,实现了不依赖外部电控系统即可根据悬架...
Genie Sim 3.0开源仿真平台通过高保真仿真环境与自然语言驱动场景生成,为开发者提供全流程闭...
新一代全尺寸人形机器人通过多模态感知与智能决策,实现了自然的人机互动与情感陪伴,展现了具身智能在真实...
因克斯在CES 2026展示了覆盖灵巧手、关节和电池的完整动力系统解决方案,其标准化关节产品矩阵与规...
智能边缘解决方案通过将计算和AI能力部署在数据源头,实现了更快的响应与持续优化,为交通、机器人及航空...
AMD最新发布的Ryzen AI嵌入式处理器,集成了Zen 5 CPU、RDNA 3.5 GPU和X...
2025年全球汽车市场呈现复杂图景:加拿大销量回升至疫情前水平,比亚迪在欧洲超越特斯拉,但大众在美销...
新一代高性能灵巧手通过仿生结构与智能感知的突破,实现了接近人手的灵活度与自主操作能力。其极具竞争力的...
小米汽车在销量攀升后,面临营销宣传、产品质量等多重信任挑战。雷军通过直播直面质疑、承诺改进,试图重建...